近日,多地通報了水泥抽檢質量不合格的消息,綜合來看,抗壓、抗折強度及氯離子不合格為“重災區”,32.5水泥標號也多“榜上有名”。廣西、江西、浙江、山東區域內不合格品標稱企業多為單體粉磨站。
廣東省
廣東云浮抽檢兩家廣西地區粉磨站32.5標號水泥抽檢強度不合格

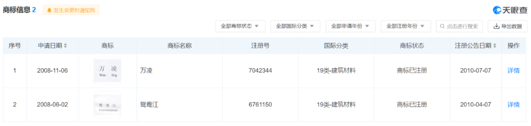
據查詢,廣西梧州市萬凌水泥有限公司生產許可證編號XK08-001-02840,有效期至2025年3月12日。企業類型為粉磨站,擁有一條粉磨生產線,關鍵設備為Φ3.5×13m水泥磨機1臺。

企業商標注冊信息顯示,旗下共有“萬凌”和“鴛鴦江”兩個注冊品牌,并沒有不合格品所列的“粵華水泥”注冊商標。

據查詢,擁有“粵華”注冊商標的佛山市三水長力恒盛水泥有限公司目前處于“注銷”狀態。另一家英德市粵華水泥有限責任公司雖名為“粵華水泥”但無此注冊商標。
長虹(廣西北流)水泥有限公司生產許可證編號XK08-001-03183,有效期至2023年11月13日,企業類型為粉磨站,擁有一條粉磨生產線,關鍵設備為Φ3.2×13m水泥磨機一臺。企業注冊商標中有“海都”品牌,商標為已注冊狀態。


山東省
山東省濱州流通領域抽檢同一家企業兩批次水泥氯離子不合格
山東省濱州市市場監管局公布2022年水泥產品質量市級監督抽查結果。本次抽檢20批次水泥產品,標稱為同一家生產企業2批次“永固”牌P.S.A32.5水泥抽檢氯離子不合格。

水泥人網注意到,工商注冊信息中無“永固新型建材有限公司”的相關注冊信息。擁有“永固”商標的山東永固建材科技有限公司目前狀態為“吊銷“,永固商標為無效狀態。
多家粉磨企業四批次水泥不合格
亳州市市場監管局市級水泥產品質量監督抽查結果顯示,淮北相豐水泥有限責任公司、山東江河水泥有限公司水泥企業四批次32.5標號水泥不合格。不合格項目均為28d抗壓強度、氯離子。山東成武泰豐水泥有限公司礦渣硅酸鹽水泥一個批次復檢合格。
淮北相豐水泥有限責任公司生產許可證編號〔皖〕XK08-001-00069,有效期至2027年12月21日,生產類型為粉磨站;企業擁有2條粉磨生產線;關鍵設備為Φ3.2×13m水泥磨機2臺。“相海”商標已注冊。
山東江河水泥有限公司生產許可證編號(魯)XK08-001-05307,有效期至2027年1月8日,企業類型為粉磨站;企業擁有1條粉磨生產線;關鍵設備為Φ3.2×13m水泥磨機1臺;企業“恒誠”商標已注冊。


江西省級抽檢一批次水泥不合格,生產許可證無效
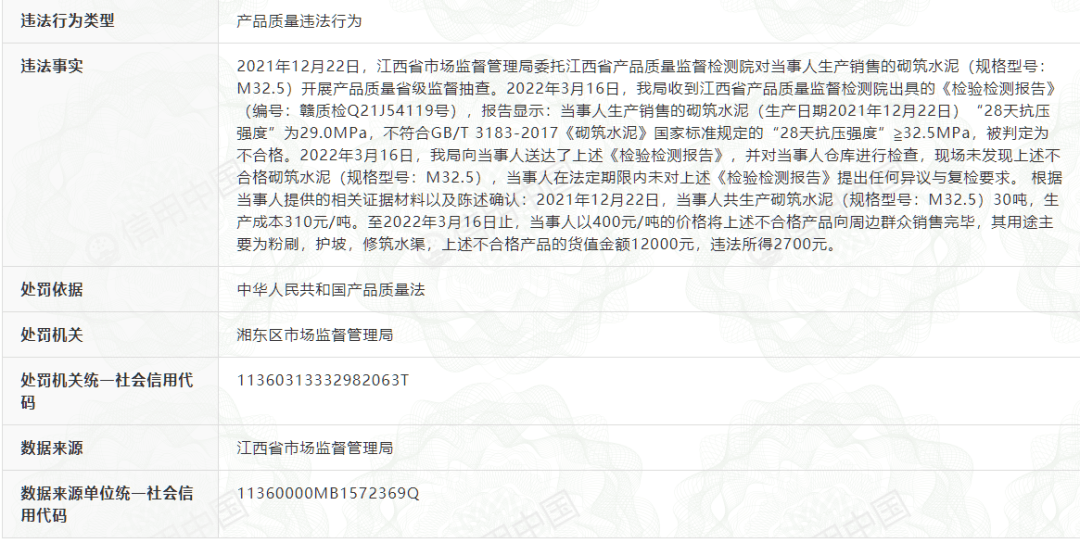
江西省市場監督管理局對全省水泥產品質量進行了監督抽查。經檢驗,不合格產品1批次,涉及的不合格項目為28天抗壓強度。不合格標稱生產單位為萍鄉市均塘水泥廠普樂夫牌M32.5水泥。

據查詢,萍鄉市均塘水泥廠生產類型為粉磨站,生產許可證編號為XK08-001-02502。該編號生產許可證有效期截止到2021年7月14日,目前已處于無效狀態。且“普樂夫”品牌亦非該企業自有。

據查詢, 因生產銷售不合格水泥萍鄉市均塘水泥廠被罰沒人民幣25500元。
違法事實是,當事人生產銷售的砌筑水泥(生產日期2021年12月22日)“28天抗壓強度”為29.0MPa,不符合GB/T 3183-2017《砌筑水泥》國家標準規定的“28天抗壓強度”≧32.5MPa,被判定為不合格。
根據當事人提供的相關證據材料以及陳述確認:2021年12月22日,當事人共生產砌筑水泥(規格型號:M32.5)30噸,生產成本310元/噸。至2022年3月16日止,當事人以400元/噸的價格將上述不合格產品向周邊群眾銷售完畢,其用途主要為粉刷,護坡,修筑水渠,上述不合格產品的貨值金額12000元,違法所得2700元。

浙江杭州三個批次M32.5水泥不合格品,其中兩個批次為假冒產品
浙江杭州市市場監管局抽檢發現三個批次不合格水泥產品,不合格項目分別為,3d抗折、3d抗壓、28d抗壓以及強度不合格。不合格產品中有兩個批次為假冒產品。
杭州市江干區黃保海五金店和杭州市錢塘區吳彬建材店抽檢到兩批次M32.5水泥為假冒產品,主要不合格項目為3d抗折、3d抗壓、28d抗壓;杭州富陽康亞建材商行M32.5水泥,標稱生產者為江西省九峰建材有限公司主要不合格項目為強度。

新疆通報6批次42.5水泥不合格,涉及一家全能水泥廠
新疆維吾爾自治區通報,生產領域抽查了74家企業的90批次產品,檢出6批次產品不合格,不合格項目為氯離子。
不合格水泥中包括昌祥、圣雄、三川、新山牌、天匯等五個品牌,其中新疆圣雄水泥有限公司為全能水泥廠。

值得注意得是,取消32.5標號水泥生產和銷售后,新疆區域42.5水泥質量問題被公開通報,不合格項目均為氯離子。此類不合格多為企業在生產水泥的過程中為提高產品強度而過量添加“助劑”導致。不得不讓人質疑32.5水泥變42.5水泥操作工藝僅是多加了“助劑”一道工序?
綜上,19個批次不合格品中,10個批次強度不合格,9個批次氯離子不合格。不合品有11個批次是在流通領域被發現,8個批次為生產領域抽檢發現。其中包括32.5標號水泥12個批次,42.5水泥7個批次。不合格品中不僅包含高仿品牌、無效注冊商標,還存在兩批次“假冒產品”。



